會計電算化自考專科科目有哪些?
2023-11-10 來源:教育在線
自學考試的學歷受到國家的承認,自學考試畢業生享有與普通高校同類畢業生相同的待遇。高等教育自學考試應考者符合規定,可以取得畢業證書,國家承認學歷。那么會計電算化自考專科科目有哪些?
點擊進入:自考有疑問、不知道如何選擇主考院校及專業、不清楚自考當地政策,點擊立即了解>>

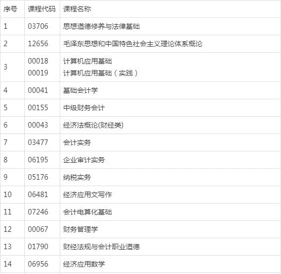
會計電算化自考專科科目

自考科目報考
會計電算化專業培養能主動適應社會主義市場經濟和科技發展需要,德、智、體、美、勞全面發展,面向現代企業生產、管理和服務第一線以及行政事業單位的財務會計及相關崗位,牢固掌握會計電算化職業崗位所需的基礎理論知識和專業技能,能從事財務會計、財務管理、審計等工作的高級技術應用型人才。
自考一般一年只考兩次,個別省份如廣東、江蘇等會考三次,而且每一次的自學考試,自考考生最多選擇4門考試課程,一般自考考生都會選擇2門考試課程,因為這樣學習的效果有保障,但是這樣就會拖慢考試進程,從而延遲畢業時間,所以很多人就覺得自考很難。
以上是關于成人自考的相關內容,考生想要獲得更多關于自考的相關資訊,如成人自考報名時間、考試時間、報考條件、備考知識、相關新聞等,敬請關注教育在線自考考試頻道。
熱門推薦:
自考有疑問、不知道如何選擇主考院校及專業、不清楚自考當地政策,點擊立即了解>>
推薦閱讀:

· 











