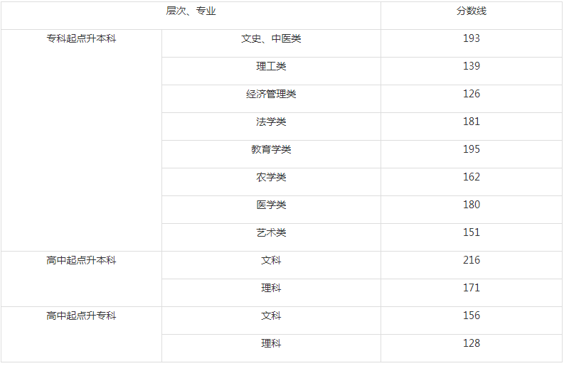
2020湖南成人高考錄取線?
2023-08-31 來源:教育在線
2020湖南成人高考錄取線?社會飛速發展,面臨升職就業等就業從業壓力,提升自我優勢是必不可少的,擁有一個高學歷或好文憑也是找工作的關鍵,就業選擇的范圍也會更廣,機會更多。學歷是判斷個人素質的重要條件之一,企業也重視高學歷的員工。下面本小編為大家解答一下關于成人高考相關信息,希望對大家有所幫助!
成人高考有疑問、不知道如何選擇主考院校及專業、不清楚成考當地政策,點擊立即了解>>

2020湖南成人高考錄取線?

成考錄取查詢方法
1、通過登錄各省市的教育考試院官網選擇成人高考系統,點擊查詢成人高考成績查詢,輸入本人基本信息,即可進行查詢錄取結果。
2、登錄成人高考報考院校的招生網查詢個人的錄取信息和錄取結果。
3、通過微信查詢,各省的教育考試部門都已經開通了自己的官方微信,考生關注有關成人高考的相關微信公眾號,也一樣可以查詢自己的錄取結果。
4、通過短信查詢,通過打電話和短信查詢也是比較便捷的查詢方式,考生可通過自己的準考證號以及姓名和身份證號碼進行查詢。
5、到報名成人高考的教育機構進行咨詢,告訴工作人員基本個人信息,讓工作人員幫忙查詢自己否被所報考的院校所錄取。
以上是關于成人高考的相關內容,考生可以此作為參考,具體以官方公告為準!考生如果想獲取更多關于成考的相關資訊,如成人高考報名時間、考試時間、報考條件、備考知識、相關新聞等,敬請關注教育在線成人高考考試頻道。
熱門推薦:
成人高考有疑問、不知道如何選擇主考院校及專業、不清楚成考當地政策,點擊立即了解>>
推薦閱讀:

· 











