湖南省成人高考2020成績查詢?
2023-08-31 來源:教育在線
湖南省成人高考2020成績查詢?社會飛速發展,面臨升職就業等就業從業壓力,提升自我優勢是必不可少的,擁有一個高學歷或好文憑也是找工作的關鍵,就業選擇的范圍也會更廣,機會更多。學歷是判斷個人素質的重要條件之一,企業也重視高學歷的員工。下面本小編為大家解答一下關于成人高考相關信息,希望對大家有所幫助!
成人高考有疑問、不知道如何選擇主考院校及專業、不清楚成考當地政策,點擊立即了解>>

湖南省成人高考2020成績查詢?
1、通過各省考試院查詢成考成績。考生可登錄各省教育考試院查詢成績。
2、通過手機端查詢成考成績。各省的教育考試院都有自己的公眾號,考生可關注相關公眾號進行成考成績查詢。
3、通過報考機構老師查詢。如果你成考報的機構,那么成考成績也可以直接咨詢你報考機構的老師。
查詢流程:1.登錄考試所在地的教育考試院網站進行查詢。網址可以在自己的準考證上找到;
2.點擊“成人高考”,接著找到當年的成人高考報名入口并點擊;
3.點擊“成考相關查詢”,然后選擇“成人高考成績查詢”并點擊;
4.在“成考查詢中心”點擊“成考成績查詢”,輸入身份證或者準考證、報名號即可查詢。
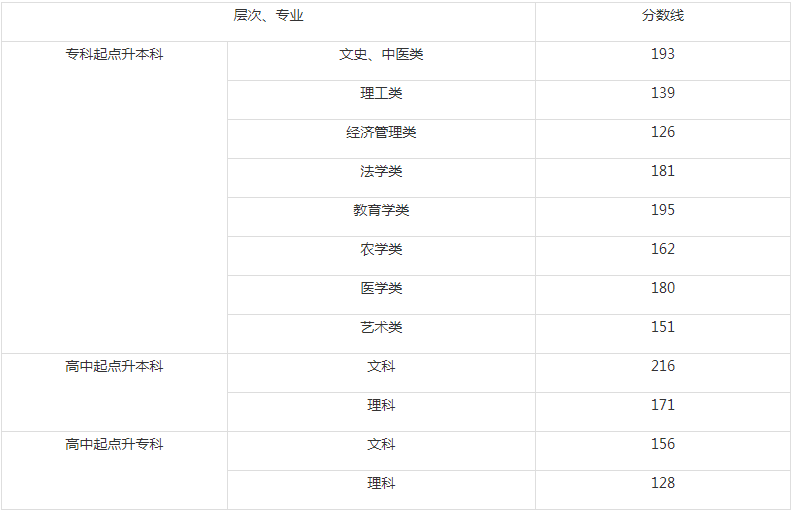
湖南省成人高考2020分數線

以上是關于成人高考的相關內容,考生可以此作為參考,具體以官方公告為準!考生如果想獲取更多關于成考的相關資訊,如成人高考報名時間、考試時間、報考條件、備考知識、相關新聞等,敬請關注教育在線成人高考考試頻道。
熱門推薦:
成人高考有疑問、不知道如何選擇主考院校及專業、不清楚成考當地政策,點擊立即了解>>
推薦閱讀:

· 











